常見設備
1、盾構掘進機
2、頂管掘進機
3、隧道掘進機
4、涵洞掘進機
全斷面隧道掘進機是一種在巖層中挖掘隧道的機械。其特點是用機械法破碎切削巖石(刀頭直徑與開挖隧道的直徑大小一致,故稱全斷面開挖),挖掘與出渣同時進行。全斷面隧道掘進機適用于公路工程、鐵路工程、水電工程、排污工程、軍事工程及其他地下工程中開挖巖石隧道。因此,在公路山嶺隧道和海底隧道工程中被廣泛采用。
全斷面隧道掘進機一般由切削頭工作機構、切削頭驅動機構、推進及支撐裝置、排渣裝置、液壓系統、除塵裝置以及電氣和操縱等裝置組成。
以LJ-30型掘進機為例(圖11-4),切削頭工作機構1的上下導框套在機架大梁8上,靠四個推進油缸可以移動750mm。切削頭前端有刀盤,靠兩個85kW的電動機經減速箱和驅動小齒輪帶動齒圈旋轉,齒圈和刀盤剛性連接。切削下來的巖渣經刀盤上均布的三個鏟斗收集并提升到皮帶輸送機3上,向后排出。切削頭還有四個前支撐靴2,在換位時支撐靴的油缸外伸,使靴板緊頂洞壁,以便推進油缸回縮將后部前移。
在機架大梁8上裝有左右水平方向的水平支撐靴,在切削推進時,支撐靴由油缸緊頂洞壁。大梁最后連接著駕駛室6,內設操縱臺、配電盤、液壓泵4等裝置。大梁上面有吸塵風管5,可將切削時的巖粉吸出,保證掌子面空氣清潔。
為防止隧洞頂部塌方,多采用錨桿臨時支護,因此在大梁中部兩側安裝有打眼的電鉆9。大梁后下方有后支撐座10。

圖11-4 LJ-30型巖石掘進機
1-切削頭工作機構;2-前支承靴;3-排渣皮帶機;4-液壓泵;5-吸塵風管;6-機架及駕駛室;7-配電室;8-機架大梁;9-電鉆;10-后支撐座
工作原理:
將水平支撐靴10、11頂緊洞壁,前后支撐靴9、12縮回,開動切削頭旋轉,后推進油缸6收縮,前推進油缸5伸出,開動排渣用的輸送機,如圖11-5 a)所示;當切削頭掘進一定深度時(一般為推進油缸的一個行程)(如圖11-5 b所示),將前后支撐靴9、12頂緊洞壁,水平支撐靴縮回,后推進油缸伸出、前推進油缸縮回,如圖11-5 c)所示,這樣掘進機外機架前移一段距離,如圖11-5 d)所示。按上述程序機器不斷旋轉掘進,不斷換位前移,直至完成隧道開挖工作。

圖11-5 推進工作原理
1-外機架;2-內機架;3-后支撐油缸;4-前支撐油缸;5-前推進油缸;6-后推進油缸;
7、8-前、后支撐油缸;9、12-后、前支撐靴;10、11-水平支撐靴
二、臂式隧道掘進機
臂式隧道掘進機也可稱為懸臂掘進機,是一種有效的開挖機械。它集開挖、裝卸功能于一體,廣泛應用于采礦、公路隧道、鐵路隧道、礦用巷道、水利涵洞及其他地下工程的開挖。

圖11-6 懸臂式掘進機
這種掘進機對開挖泥質巖、凝灰巖、砂巖等巖層有極好的性能。與鉆爆法相比,機械開挖的最大優勢是:不擾動圍巖,隧道的掌子面非常平坦,幾乎沒有鉆爆法產生的凹凸不平和龜裂,容易達到新奧法的要求;斷面超挖量少,經濟性好;另一特點是施工時減少了噪音和振動,符合環境保護的要求。與全斷面開挖的隧道掘進機相比,臂式掘進機體積小、質量輕、易于搬運。
臂式掘進機通常由切割裝置、裝載裝置、輸送機構、行走機構、液壓系統和電氣系統等幾部分組成。

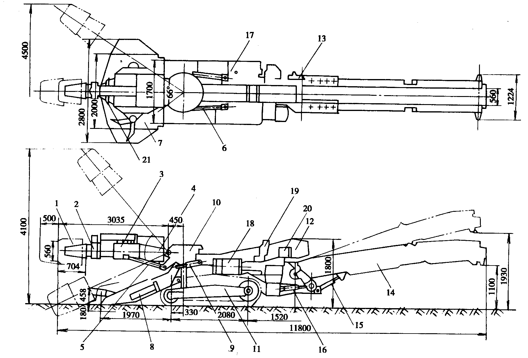
圖11-7 臂式隧道掘進機示意圖
1-切割頭;2-伸縮臂;3-切割減速器;4-切割馬達;5-切割裝置升降油缸;6-切割裝置擺動油缸;7-裝載鏟;8-集料減速器;9-裝載裝置升降油缸;10-主車體;11-行走裝置;12-一級輸送機;13-一級輸送機減速器;14-二級輸送機;15—二級輸送機升降油缸;16-二級輸送機回轉油缸;17-液壓油箱;18-液壓泵;19-控制開關柜;20-駕駛座位;21-水噴頭
臂式隧道掘進機的作業工序是:機械駛入工位,切割頭切入作業面,再按作業程序向兩邊及由下而上進行切割。切割臂有伸縮、左右擺動和升降功能,因而機體小,質量輕,無需占領整個掌子面,其余空間可供其它裝備使用,有利于提高作業效率。
|