1.用途、分類及編號
夯實機械分振動夯實機械和沖擊夯實機械,主要用于溝渠、邊角及各種小型土方夯實工程。夯實機械按夯實沖擊能量大小分為輕型、中型和重型夯實機;按結構和工作原理分為自由落錘式夯實機、振動平板夯實機、振動沖擊夯實機、爆炸式夯實機和蛙式夯實機。
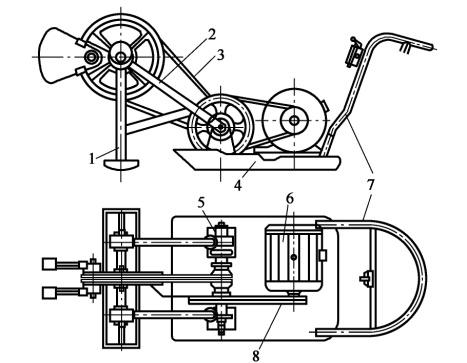
(1)蛙式打夯機
蛙式打夯機是利用偏心塊旋轉產生離心力的沖擊作用進行夯實作業的一種小型夯實機械。它結構簡單、工作可靠、操作容易,因而廣泛用于公路、建筑、水利等施工工程。
蛙式打夯機是由夯頭1、夯架2、三角帶3、8、底盤4、傳動軸架5、電動機6、扶手和三角帶輪等組成,如圖10-19所示。電動機通過兩級傳動驅動偏心塊旋轉,產生離心力使夯頭夯實地面和夯機向前移動。
 
圖10-19 蛙夯外形構造圖
1-夯頭;2-夯架;3、8-三角帶;4-底盤;5-傳動軸架;6-電動機; 7-扶手
(2)振動沖擊夯實機
振動沖擊夯的工作原理是由發動機 (電機 )帶動曲柄連桿機構運動,產生上下往復作用力使夯實機跳離地面。在曲柄連桿機構作用力和夯實機重力作用下,夯板往復沖擊被壓實材料,達到夯實的目的。
振動沖擊夯分內燃式和電動式兩種形式。前者的動力是內燃發動機,后者動力是電動機。它們的結構都是由發動機 (電機)、激振裝置、缸筒和夯板等組成。
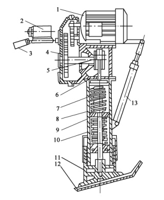
以HD60型快速沖擊夯為例。該沖擊夯主要由電動機1、減速器4、曲柄連桿機構5、6、活塞9、彈簧10、夯板 12和操縱機構等組成,如圖10-20所示。電動機動力經減速器 4傳給大齒輪,使安裝在大齒輪軸上的曲柄5、連桿 6運動,帶動活塞 9做上下往復運動,在彈簧力 (壓縮和伸張 )作用下,使機器和夯板跳動,對被壓材料產生高頻沖擊振動作用。
 
圖10-20 HD60型電動式快速沖擊夯結構
1-電動機;2-電氣開關;3-操縱手柄;4-減速器;5-曲柄;6連桿;7-內套筒;8-機體;9-滑套活塞;10-螺旋彈簧組;11底座;12-夯板;13-減振器支承器
內燃式振動沖擊夯結構與電動式振動沖擊夯基本相類似,僅動力裝置為內燃機。
(3)振動平板夯實機
振動平板夯是利用激振器產生的振動能量進行壓實作業,在工程量不大、狹窄場地廣泛使用。
振動平板夯分非定向和定向兩種形式,它是由發動機、夯板、激振器、彈簧懸掛系統等組成,如圖10-21所示。動力由發動機經皮帶傳給偏心塊式激振器,由激振器產生的偏心力矩帶動夯板以一定的振幅和激振力振實被壓材料。非定向振動平板夯是靠激振器產生的水平分力自動前移,定向振動平板夯是靠兩個激振器殼體中心 (兩激振器中心 )所處位置的不同,使振動平板原地垂直振動或在總離心力的水平分力作用下水平移動。
 
圖10-21 振動平板夯結構原理圖
a.非定向振動式;b.定向振動式
1-夯板;2-激振器;3-V形皮帶;4-發動機底架;5-操縱手柄;6-扶手;7-彈簧懸掛系統
2.特點及適用范圍
振動夯適用于非黏性土、礫石、碎石的壓實,而沖擊夯實機或夯實板則適用于黏土、砂質黏土和灰土的夯實作業。
3.常見設備
1、電動平板振動夯實機
2、內燃平板振動夯實機
3、電動振動沖擊夯
4、內燃振動沖擊夯
5、爆炸式夯實機
6、蛙式夯實機 |